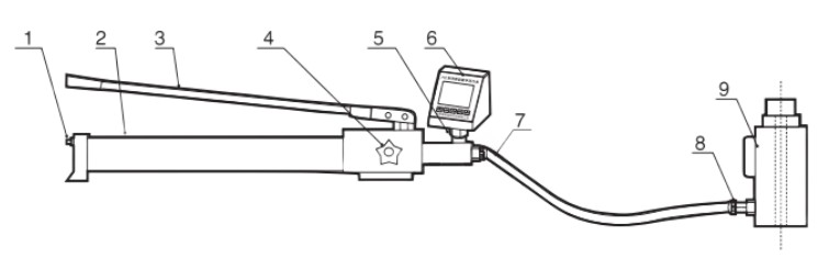
产品介绍 天地星火 XH-20TS 智能锚杆拉力计是一款高精度的检测仪器,专为测量200kN拉力的锚杆、钢筋和锚栓而设计。其主要卖点包括:配备240*320彩色触摸屏,提供直观的拉拔力读数和实时曲线显示,支持自动数据存储和EXCEl格式导出,容量高达10000条数据;还具备中英文显示切换、屏幕亮度调节和自动关机功能,结构紧凑且符合相关设计规范,确保测量精准且可靠。 产品用途 由天地星火研制生产的XH-nTS系列拉拔仪(拉力计)适用于锚杆、钢筋(植筋)、锚栓等锚固件锚固力的检测,是锚杆、锚栓施工工程质量检验的推荐仪器。 该拉拔仪由手动泵、液压缸、数字压力表及高压胶管等部分组成。泵体采用铝制合金材料与不锈钢材料制造,使用寿命长。液压缸为中空自复位式,通过快速接头与高压胶管快速连接。彩色触摸屏压力表读数直观,可直读锚杆、锚栓拉力(kN)值。该系列拉拔仪结构紧凑、测量精准、性能稳定。符合GB50367-2006《混凝土结构加固设计规范》与JGJ 145-2013《混凝土结构后锚固技术规程》要求。 产品特点 1、240*320彩色触摸显示屏 2、检测过程自动存储 3、存储卡存储数据,EXCEl格式存储,可电脑联机查看数据 4、拉拔力值-时间曲线显示 5、大容量存储卡,可存储10000条数据。 6、数据自动存储,0.5S存储1个数据。 7、屏幕亮度可调 8、自动关机可设定 9、中英文显示切换 10、量程可切换,一个数显表可标定多台液压缸 11、两种显示界面(数据界面,曲线界面) 11、工程塑料包装箱,防雨、防尘、防撞击。 工作原理 智能拉拔仪(拉力计)的工作原理是:当千斤顶中心孔穿过被测杆件后,选用合适的锚具夹住被测杆件外漏部分;在手动泵液压力的作用下,油压通过油管传递至油缸缸体,活塞杆顶住专用锚具向外运动;压力直接作用在锚具外壳上,再传递至夹片,夹片受力后卡紧被测杆件,最终促使杆件受到向外的拉拔力;此时压力泵上的压力表显示出所对应的受力(kN)值,即反应出被测杆件所受拉拔力的大小。拉拔仪在完成检测后,需用人工以较小的力晃动、振动的方法卸下锚具,才可方便地卸下中空油缸。 产品结构图
1、加油口 2、储油筒 3、压杆 4、卸荷阀 5、压力传感器 6、智能数显表 7、高压油管 8、快速接头 9、中空自复位液压缸 技术参数
|
相关产品
|





